В дискуссии про тогдашнюю жизнь, жизнь в деревне написал один товарищ:
"Пожалуйста, хватит этих легенд про бесплатные кружки и пионерлагеря. Лагеря стоили денег, а бесплатные кружки — из самых простых, типа вязания. Попробовали бы на футбол, водное поло или там картинг бесплатно. Блат или жесткий экзамен".
Это не легенды. Я каждый год ездил в пионерские лагера, иногда оставался на вторую смену. Это были простейшие для СССР дела. Элементарные.
Про какой кружок футбола вы говорите ))). Для вас это уже фантастика. Понимаю.
Футбол в СССР был совершенно бесплатный. Мы находили поле, сами ставили ворота, местный леспромхоз, или отдел культуры покупал нам мячи, волейбольные сетки. Мы сами договаривались о проведении соревнований с другими селами, деревнями, школа на школу и играли. Совершенно бесплатно. О чём вы говорите! Какие деньги, или блат?
В нашем клубе, в районом Доме культуры, в колхозном Доме культуры были музыкальные инструменты, гитары, ударные установки. Играл тот, кто хочет, лично мы с ребятами организовали ВИА и играли что хотели и где хотели. В том числе на танцах совершенно бесплатно, точнее нам платили какие-то копейки "за труд", около 15 р в месяц.
Картинга тогда не было, у нас были мопеды (Рига-5, Рига-12, Гауя), потом мотоциклы (у меня Восход-2, который и сейчас жив).
У нас в школе был радиолюбительский кружок вел учитель физики, кроме этого я ходил на бесплатные курсы вождения мотоцикла (изучали ПДД, затем получил права), в школе был урок автодела, в 10 классе получил удостоверение сельского механизатора (тракториста). Всё это в районной сельской школе Горьковской области, 120 км от областного центра. Была музыкальная школа, где тоже обучали бесплатно.
Воспитанные либералами очень странные. Полностью отсутствует логика. Если у нас было так всё плохо — расстреливали, сажали, цензура, бедность, бесперспективность, то откуда же вы все появились? Откуда взялись космос и прочее? Откуда у вас всё это? Откуда вы и ваши дети?
Да, большинство населения не жировали. Но нормально работающие люди жили вполне сносно в соответствии с техпрогрессом промышленности.
Сколько же в ваших головах всякой неправды набилось!
Как им рассказать, что и тогда не всё было плохо, и сейчас не всё гладко. Как заставить относится к прошлом с бережностью и уважением, а не стоять с ведром помоев?
Это тормозит карьерный рост женщин-руководителей: 27% опрошенных отказывались от повышения из-за сомнений в собственных силах.
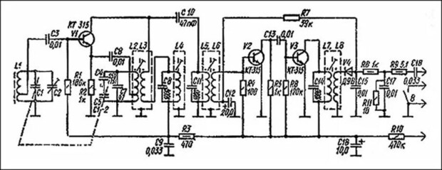
Я сперва подумал что это прямого усиления. Но потом увидел обратную связь подаваемую на эмитер транзистора VT1.
Проблема схемотехники в фильтре ПЧ. Поскольку фильтр ПЧ работает на транзистор подключенный по схеме ОЭ добротность и избирательность этого фильтра никакая. Примерно ничего он не фильтрует и не вырезает, а ловит лишь мощный сигнал.

Любопытно что в СССР выпускали хорошие кварцевые монолитные фильтры для зенитных ракет, но они были дороговаты из-за корпусов защищенных от механический и радиационных воздействий.
У нас в городе дорабатывали гражданские радиоприемники типа Океан вставляя такие. Там в миллионы раз боковые рубились, а не в десятки как на обычных. Соответственно почище ловилось все.
Как они выглядят.
См внимательно, уродливый слой сверху это олово-висмут (защита от ионизирующих излучений. Стальной корпус - защита от проникающих помех.
Расшифровка фильтр полосовой 2 порядка рабочая частота 20Мгц, полоса пропускания примерно до 9кгц плоская, до 18кгц -6дБл, далее обрыв в миллионы раз.
Есть более навороченные 6 и 8 порядков, там покруче характеристики.
Увидел на одном форуме... Это фейк?
Я что-то об этом слышал, но лично не сталкивался, поскольку в городе на велосипеде никогда не ездил.
Но про это пишут:
А Вы знаете, что в СССР были удостоверение на право управления велосипедом? Кто мог его получить?
Или вот:
Тут скорее вопрос, где и как это реально контролировали.
А вообще у меня был знакомый, который в юности занимался велосипедным спортом в обществе "Динамо", так он рассказывал, что когда они ездили по Ленинграду в спортивных футболках с надписью "Динамо", сотрудники ГАИ были к ним снисходительны, и не останавливали даже при нарушении правил, например, левый поворот, который для велосипедистов был запрещен.
Тут необходимо пояснить отдельные особенности организации спорта в СССР. Спортивные клубы прикреплялись к министерствам и ведомствам и спортсмен - любитель уровня МС и выше (фактически профессионал) занимал должность параллельно имел выслугу лет, стаж и какую то гарантированную небольшую заработную плату.
Динамо - спортклуб МВД, Локомотив - спортклуб министерства путей и сообщений, ЦСКА - министерство обороны, Спартак - профсоюзная сборная, Торпедо - министерство машиностроения, Зенит - добывающая промышленость, Красная звезда - КГБ и спец службы, Урожай - минсельхоз, Буревестник - наука и образование. Ну и совсем понятные - Энергетик, текстильщик, металлист, шахтер. В республиках СССР и крупных городах РСФСР могли существовать еще городские команды: Пахтакор, Даугава, Арарат и тд.
Поэтому надпись "Динамо" на футболке являлась меткой "свой-чужой" в МВД.
В фильме "Джентельмены Удачи" доцент представляется участником клуба "Трудовые Резервы" - на языке спорта это - "Мы студенты из ПТУ".
Нет, не фейк, у меня было такое удостовренеие и номерной знак. Но это не контролировали, точно уже не помню, но была какая-то добровольность в этом деле. И не помню, чтоб я сдавал экзамен.
Если память не изменяет, давали в школе.
Зенит - это оборонная промышленность. Футбольный клуб "Зенит" из Ленинграда был прикреплен к ЛОМО - Ленинградское оптико-механическое объединение.
Исходно "Зенит" назывался "Сталинец" и был при ЛМЗ - Ленинградский металлический завод.
Во время войны команду было решено эвакуировать, а ЛМЗ не эвакуировалось, поэтому его прикрепили к предприятию, которое эвакуировалось.
Как начинался «Зенит»
Увидел в Википедии, что:
Именно так и было.
Мой знакомый рассказывал, ехали они с приятелем на велосипедах в футболках с надписью "Динамо" по Литейному и сделали левый поворот на Невский прямо на глазах сотрудника ГАИ. А там вообще левый поворот запрещен для любого транспорта, не только велосипеда. Ну и вообще самый центр города, движение всегда там было интенсивным.
Сотрудник ГАИ ожидаемо никак на это не отреагировал, а за ними ехал велосипедист, не имеющий отношение к обществу "Динамо", и он решил повторить их маневр, раз им можно, то и ему можно.
За спиной они услышали свисток и, оглянувшись, увидели как сотрудник ГАИ разбирается с тем велосипедистом.
Кто-то помнит "Минск"?
Мы уже обсуждали "Минск". Прекрасно помню это мотоцикл.
Круче всех считалась Ява, чуть ниже Иж-Планета, Иж-Юпитер.
Уралы и Днепры у молодёжи не котировалсиь, тяжелые слишком.
Ещё ниже Восход, и в самом низу - Минск. Слабенький мотоцикл. Довольно ненадежный. Но он стоил очень немного, кажется 250 рублей, могу ошибаться.
А белорусы молодцы, так и надо. Мы, к сожалению, так и не можем найти свое место в мото-автопроизводстве. Мы все боремся нечестными методами.
Мы все запрещаем и ужесточаем.
Решил разчехлить фото из личной коллекции.
А Ява такая?
или такая?
А Юпитер такой?
На первом фото Ява-350, мы ездили на Яве-250, второе фото.
А такого Ижака я не знаю, не видел.
Вот типичный Иж.

Думаю, что это какой-то китайскимй вариант старой Хонды с дальнейшими изменениями. Совсем не то, что было в СССР.
На моем фото выше Иж Юпитер Ш-12, спортивный, для кольцевых гонок, годы выпуска 1977-1985.
А вот это что за мотоцикл? Кто знает?
Да, белорусы только собирают китайский мотоцикл.
Похож на Чезет, но видимо более старой версии. Его можно узнать по фирменному расположению карбюратора. Да и "крылышки".